深度剖析 AQS 设计原理,内容相当硬核!
一、背景介绍
在之前的文章中,我们介绍了 ReentrantLock、ReadWriteLock、CountDownLatch、CyclicBarrier、Semaphore、ThreadPoolExecutor 等并发工具类的使用方式,它们在请求共享资源的时候,都能实现线程同步的效果。
在使用方式上稍有不同,有的是独占式,多个线程竞争时只有一个线程能执行方法,比如 ReentrantLock 等;有的是共享式,多个线程可以同时执行方法,比如:ReadWriteLock、CountDownLatch、Semaphore 等,不同的实现争用共享资源的方式也不同。
如果仔细阅读源码,会发现它们都是基于AbstractQueuedSynchronizer这个抽象类实现的,我们简称 AQS。
AQS 是一个提供了原子式管理同步状态、阻塞和唤醒线程功能的框架,是除了 Java 自带的synchronized关键字之外的锁实现机制。
可以这么说,AQS是JUC包下线程同步类的基石,也是很多面试官喜欢提问的话题,掌握AQS原理对我们深入理解线程同步技术有着非常重要的意义。
本文以ReentrantLock作为切入点,来解读AQS相关的知识点,最后配上简单的应用示例来帮助大家理解 AQS,如果有描述不对的地方,欢迎大家留言指出,不胜感激!
二、ReentrantLock
在之前的线程系列文章中,我们介绍了ReentrantLock的基本用法,它是一个可重入的互斥锁,它具有与使用synchronized关键字一样的效果,并且功能更加强大,编程更加灵活,支持公平锁和非公平锁两种模式。
使用方式也非常简单,只需要在相应的代码上调用加锁和释放锁方法即可,简单示例如下!
public class Counter {
// 默认非公平锁模式
private final Lock lock = new ReentrantLock();
public void add() {
// 加锁
lock.lock();
try {
// 具体业务逻辑...
} finally {
// 释放锁
lock.unlock();
}
}
}
如果阅读lock()和unlock()方法,会发现它的底层都是由AQS来实现的。
下面,我们一起来看看这两个方法的源码实现,本文源码内容摘取自 JDK 1.8 版本,可能不同的版本略有区别!
2.1、lock 方法源码
public class ReentrantLock implements Lock, java.io.Serializable {
// 同步锁实现类
private final Sync sync;
public ReentrantLock() {
// 默认构造方法为非公平锁实现类
sync = new NonfairSync();
}
public ReentrantLock(boolean fair) {
// true:公平锁实现类,false:非公平锁实现类
sync = fair ? new FairSync() : new NonfairSync();
}
public void lock() {
// 加锁操作
sync.lock();
}
// 非公平锁实现类
static final class NonfairSync extends Sync {
// 加锁操作
final void lock() {
if (compareAndSetState(0, 1))
setExclusiveOwnerThread(Thread.currentThread());
else
acquire(1);
}
}
// 公平锁实现类
static final class FairSync extends Sync {
// 加锁操作
final void lock() {
acquire(1);
}
}
// 公平锁和非公平锁,都继承自 AQS
abstract static class Sync extends AbstractQueuedSynchronizer {
// lock 抽象方法
abstract void lock();
}
}
从源码上可以清晰的看到,当初始化ReentrantLock对象时,需要指定锁的模式。
默认构造方法是非公平锁模式,采用的是NonfairSync内部实现类;公平锁模式下,则采用的是FairSync内部实现类;这两个内部实现类都继承了Sync抽象类;同时,Sync也继承了AbstractQueuedSynchronizer,也就是我们上文提到的AQS。
如果把lock()方法的请求链路进行抽象,可以用如下图进行简要概括。
无论是非公平锁模式还是公平锁模式,可能最终都会调用AQS的acquire()方法,它表示通过独占式的方式加锁,我们继续往下看这个方法的源码,部分核心代码如下:
public abstract class AbstractQueuedSynchronizer extends AbstractOwnableSynchronizer implements java.io.Serializable {
// 通过独占式的方式加锁
public final void acquire(int arg) {
// 尝试加锁,会回调具体的实现类
if (!tryAcquire(arg) &&
// 如果尝试加锁失败,将当前线程加入等待队列
acquireQueued(addWaiter(Node.EXCLUSIVE), arg))
selfInterrupt();
}
// 由子类完成加锁逻辑的实现,支持重写该方法
protected boolean tryAcquire(int arg) {
throw new UnsupportedOperationException();
}
}
从AQS的源码上可以看出,acquire()方法并不进行具体加锁逻辑的实现,而是通过具体的实现类重写tryAcquire()方法来完成加锁操作,如果加锁失败,会将当前线程加入等待队列。
如果是非公平锁模式,会回调ReentrantLock类的NonfairSync.tryAcquire()方法;如果是公平锁模式,会回调ReentrantLock类的FairSync.tryAcquire()方法,我们继续回看ReentrantLock类的源码。
非公平锁NonfairSync静态内部实现类,相关的源码如下!
// 非公平锁实现类
static final class NonfairSync extends Sync {
// 加锁操作
final void lock() {
if (compareAndSetState(0, 1))
setExclusiveOwnerThread(Thread.currentThread());
else
acquire(1);
}
// 尝试非公平方式加锁,重写父类 tryAcquire 方法
protected final boolean tryAcquire(int acquires) {
final Thread current = Thread.currentThread();
int c = getState();
if (c == 0) {
// 采用CAS方式修改线程同步状态,如果成功返回true
if (compareAndSetState(0, acquires)) {
setExclusiveOwnerThread(current);
return true;
}
}
else if (current == getExclusiveOwnerThread()) {
// 支持当前线程,重复获得锁,将state值加1
int nextc = c + acquires;
if (nextc < 0)
throw new Error("Maximum lock count exceeded");
setState(nextc);
return true;
}
return false;
}
}
公平锁FairSync静态内部实现类,相关的源码如下!
// 公平锁实现类
static final class FairSync extends Sync {
// 加锁操作
final void lock() {
acquire(1);
}
// 尝试公平方式加锁,重写父类 tryAcquire 方法
protected final boolean tryAcquire(int acquires) {
final Thread current = Thread.currentThread();
int c = getState();
if (c == 0) {
// 1)判断等待队列是否有线程处于等待状态,如果没有,尝试获取锁;如果有,就进入等待队列
// 2)采用CAS方式修改线程同步状态,如果成功返回true
if (!hasQueuedPredecessors() &&
compareAndSetState(0, acquires)) {
setExclusiveOwnerThread(current);
return true;
}
}
else if (current == getExclusiveOwnerThread()) {
// 支持当前线程,重复获得锁,将state值加1
int nextc = c + acquires;
if (nextc < 0)
throw new Error("Maximum lock count exceeded");
setState(nextc);
return true;
}
return false;
}
}
从源码上可以清晰的看到,无论是是公平锁还是非公平锁模式,都是采用compareAndSetState()方法(简称CAS)进行加锁,如果成功就返回true;同时支持当前线程重复获得锁,也就是之前提到的锁可重入机制。
唯一的区别在于:公平锁实现类多了一个hasQueuedPredecessors()方法判断,它的用途是判断等待队列是否有线程处于等待状态,如果没有,尝试获取锁;如果有,就将当前线程存入等待队列,依此排队,从而保证线程通过公平方式获取锁的目的。
关于 CAS 实现原理,在之前的并发原子类文章中已经有所介绍,通过它加上volatile修饰符可以实现一个无锁的线程安全访问操作,本文不再重复解读,有兴趣的朋友可以翻阅之前的文章。
2.2、unlock 方法源码
public class ReentrantLock implements Lock, java.io.Serializable {
// 同步锁实现类
private final Sync sync;
public void unlock() {
// 释放锁操作
sync.release(1);
}
}
unlock()方法的释放锁实现相对来说就简单多了,整个请求链路可以用如下图进行简要概括。
当调用unlock()方法时,会直接跳转到AQS的release()方法上,AQS相关的源码如下!
public abstract class AbstractQueuedSynchronizer extends AbstractOwnableSynchronizer implements java.io.Serializable {
// 释放锁操作
public final boolean release(int arg) {
// 尝试释放锁
if (tryRelease(arg)) {
// 从队列头部中获取一个等待线程,并进行唤醒操作
Node h = head;
if (h != null && h.waitStatus != 0)
unparkSuccessor(h);
return true;
}
return false;
}
// 由子类完成释放锁逻辑的实现,支持重写该方法
protected boolean tryRelease(int arg) {
throw new UnsupportedOperationException();
}
}
与加锁操作类似,AQS的release()方法并不进行具体释放锁逻辑的实现,而是通过具体的实现类重写tryRelease()方法来完成释放锁操作,如果释放锁成功,会从队列头部中获取一个等待线程,并进行唤醒操作。
我们继续回看ReentrantLock类的Sync.tryRelease()释放锁方法,部分核心源码如下:
abstract static class Sync extends AbstractQueuedSynchronizer {
// 尝试释放锁
protected final boolean tryRelease(int releases) {
// 将state值进行减1操作
int c = getState() - releases;
if (Thread.currentThread() != getExclusiveOwnerThread())
throw new IllegalMonitorStateException();
boolean free = false;
if (c == 0) {
free = true;
setExclusiveOwnerThread(null);
}
setState(c);
return free;
}
}
相比加锁过程,释放锁要简单的多,主要是将线程的同步状态值进行自减操作。
三、AQS 原理浅析
如果仔细的研究 AQS 的源码,尽管实现上很复杂,但是也有规律可循。
从上到下,整个框架可以分为五层,架构可以用如下图来描述!(图片来自ReentrantLock 的实现看 AQS 的原理及应用 – 美团技术团队)
当有自定义线程同步器接入AQS时,只需要按需重写第一层的方法即可,不需要关心底层的实现。
以加锁为例,当调用AQS的 API 层获取锁方法时,会先尝试进行加锁操作(具体逻辑由实现类完成),如果加锁失败,会进入等待队列处理环节,这些处理逻辑同时也依赖最底层的基础数据提供层来完成。
3.1、原理概述
整个AQS实现线程同步的核心思想,可以用如下这段话来描述!
AQS 内部维护一个共享资源变量和线程等待队列,如果被请求的共享资源空闲,那么就将当前请求资源的线程设置为有效的工作线程,将共享资源设置为锁定状态;如果共享资源被占用,就需要一定的阻塞等待唤醒机制来保证锁分配。这个机制主要用的是 CLH 队列的变体实现的,将暂时获取不到锁的线程加入到等待队列中,待条件允许的时候将线程从队列中取出并进行唤醒。
CLH 队列是一个单向链表队列,对应的还有 CLH 锁实现,它是一个基于逻辑队列非线程饥饿的一种自旋公平锁实现,由 Craig、Landin 和 Hagersten 三位大佬发明,因此命名为 CLH 锁。关于这方面的技术知识讲解可以参阅这篇文章:多图详解 CLH 锁的原理与实现。
而AQS中的队列采用的是 CLH 变体的虚拟双向队列,通过将每一条请求共享资源的线程封装成一个 CLH 队列的一个节点来实现锁的分配。
具体实现原理,可以用如下图来简单概括:
同时,AQS中维护了一个共享资源变量state,通过它来实现线程的同步状态控制,这个字段使用了volatile关键字修饰符来保证多线程下的可见性。
当多个线程尝试获取锁时,会通过CAS方式来修改state值,当state=1时表示当前对象锁已经被占有(相对独占模式来说),此时其他线程来加锁时会失败,加锁失败的线程会被放入上文说到的FIFO等待队列中,并且线程会被挂起,等待其他获取锁的线程释放锁才能够被唤醒。
总结下来,用大白话说就是,AQS是基于 CLH 队列,使用volatile修饰共享变量state,线程通过CAS方式去改变state状态值,如果成功则获取锁成功,失败则进入等待队列,等待被唤醒的线程同步器框架。
打开 ReentrantLock、ReadWriteLock、CountDownLatch、CyclicBarrier、Semaphore 等类的源码实现,你会发现它们的线程同步状态都是基于AQS实现的,可以看成是AQS的衍生物。
下面我们一起来看看相关的源码实现!
3.2、源码浅析
3.2.1、线程同步状态控制
AQS源码中维护的共享资源变量state,表示同步状态的意思,它是实现线程同步控制的关键字段,核心源码如下:
/**
* The synchronization state.
*/
private volatile int state;
针对state字段值的获取和修改,AQS提供了三个方法,并且都采用Final修饰,意味着子类无法重写它们,相关方法如下:
| 方法 | 描述 |
|---|---|
| protected final int getState() | 获取state的值 |
| protected final void setState(int newState) | 设置state的值 |
| protected final boolean compareAndSetState(int expect, int update) | 使用 CAS 方式更新state |
如果仔细分析源码,state字段还有一个很大的用处,通过它可以实现多线程的独占模式和共享模式。
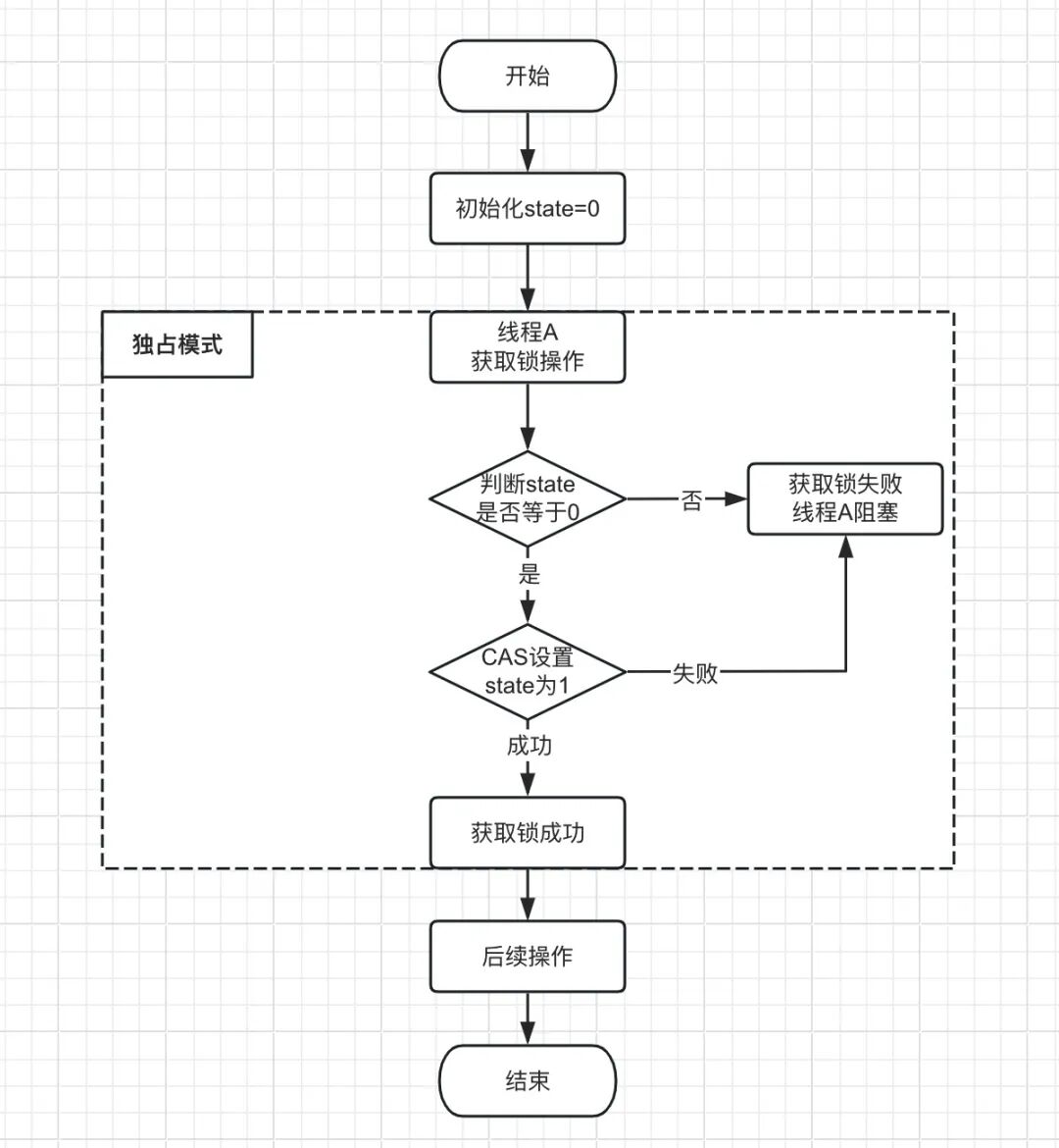
以ReentrantLock和Semaphore类为例,它们的加锁过程中state值的变化情况如下。
3.2.1.1、ReentrantLock 独占模式的获取锁,简易流程图如下:
ReentrantLock类部分核心源码,实现逻辑如下:
public class ReentrantLock implements Lock, java.io.Serializable {
// 非公平锁实现类
static final class NonfairSync extends Sync {
private static final long serialVersionUID = 7316153563782823691L;
// 加锁操作
final void lock() {
// 将state从0设置为1,如果成功,直接获取当前共享资源
if (compareAndSetState(0, 1))
setExclusiveOwnerThread(Thread.currentThread());
else
// 尝试加锁,会转调tryAcquire方法
acquire(1);
}
protected final boolean tryAcquire(int acquires) {
final Thread current = Thread.currentThread();
int c = getState();
// 判断state是否等于0
if (c == 0) {
// 尝试state从0设置为1,如果成功,返回true
if (compareAndSetState(0, acquires)) {
setExclusiveOwnerThread(current);
return true;
}
}
else if (current == getExclusiveOwnerThread()) {
// 支持当前线程可重入,每调用一次,state的值加1
int nextc = c + acquires;
if (nextc < 0)
throw new Error("Maximum lock count exceeded");
setState(nextc);
return true;
}
return false;
}
}
}
3.2.1.2、Semaphore 共享模式的获取锁,简易流程图如下:
Semaphore类部分核心源码,实现逻辑如下:
public class Semaphore implements java.io.Serializable {
// 初始化的时候,设置线程最大并发数,本质设置的是state的值
public Semaphore(int permits) {
sync = new NonfairSync(permits);
}
// 非公平锁内部实现类
static final class NonfairSync extends Sync {
NonfairSync(int permits) {
// 设置state的值
setState(permits);
}
// 通过共享方式,尝试获取锁
protected int tryAcquireShared(int acquires) {
return nonfairTryAcquireShared(acquires);
}
}
// 尝试获取共享资源,会调用Sync.nonfairTryAcquireShared方法
public boolean tryAcquire() {
// 如果state的值小于0,表示无可用共享资源
return sync.nonfairTryAcquireShared(1) >= 0;
}
// 抽象同步类
abstract static class Sync extends AbstractQueuedSynchronizer {
// 通过共享方式,尝试获取锁
final int nonfairTryAcquireShared(int acquires) {
for (;;) {
// 通过cas方式,设置state自减
int available = getState();
int remaining = available - acquires;
if (remaining < 0 ||
compareAndSetState(available, remaining))
return remaining;
}
}
}
}
3.2.2、公平锁和非公平锁实现
在上文的ReentrantLock源码分析过程中,对于公平锁和非公平锁实现,其实已经有所解读。
在AQS中所有的加锁逻辑是有具有的实现类来完成,以ReentrantLock类为例,它的加锁逻辑由两个实现类来完成,分别是非公平锁静态内部实现类NonfairSync和公平锁静态内部实现类FairSync。
如上文的源码介绍,这两个类的的加锁逻辑基本一致,唯一的区别在于:公平锁实现类加锁时,增加了一个hasQueuedPredecessors()方法判断,这个方法会判断等待队列是否有线程处于等待状态,如果没有,尝试获取锁;如果有,就进入等待队列。
简单的说就是,非公平锁实现类的加锁方式,如果有线程尝试获取锁,直接尝试通过CAS方式进行抢锁,如果抢成功了,就直接获取锁,没有抢成功就进入等待队列;而公平锁实现类的加锁方式,会判断等待队列是否有线程处于等待状态,如果有则不去抢锁,乖乖排到后面,如果没有则尝试抢锁。
相对来说,非公平锁会有更好的性能,因为它的吞吐量比较大。其次,非公平锁让获取锁的时间变得更加不确定,可能会导致在阻塞队列中的线程长期处于饥饿状态。
Semaphore类的公平锁和非公平锁实现也类似,拥有两个静态内部实现类,源码就不再解读了,有兴趣的朋友可以自行阅读。
3.2.3、主要模板方法
从ReentrantLock的源码实现中可以看出,AQS使用了模板方法设计模式,它不提供加锁和释放锁的具体逻辑实现,而是由实现类重写对应的方法来完成,这样的好处就是实现更加的灵活,不同的线程同步器可以自行继承AQS类,然后实现独属于自身的加锁和解锁功能。
常用的模板方法主要有以下几个:
| 方法 | 描述 |
|---|---|
| protected boolean isHeldExclusively() | 判断该线程是否正在独占资源。只有用到Condition才需要去实现它 |
| protected boolean tryAcquire(int arg) | 独占方式。尝试获取资源,arg为获取锁的次数,成功则返回true,失败则返回false |
| protected boolean tryRelease(int arg) | 独占方式。尝试释放资源,arg为释放锁的次数,成功则返回true,失败则返回false |
| protected int tryAcquireShared(int arg) | 共享方式。尝试获取资源,arg为获取锁的次数,负数表示失败;0表示成功,但没有剩余可用资源;正数表示成功,且有剩余资源 |
| protected boolean tryReleaseShared(int arg) | 共享方式。尝试释放资源,arg为释放锁的次数,如果释放后允许唤醒后续等待结点返回true,否则返回false |
通常自定义线程同步器,要么是独占模式,要么是共享模式。
如果是独占模式,重写tryAcquire()和tryRelease()方法即可,比如 ReentrantLock 类。
如果是共享模式,重写tryAcquireShared()和tryReleaseShared()方法即可,比如 Semaphore 类。
3.2.4、线程加入等待队列实现
当线程调用tryAcquire()方法获取锁失败之后,就会调用addWaiter()方法,将当前线程加入到等待队列中去。
addWaiter()方法,部分核心源码如下:
public abstract class AbstractQueuedSynchronizer extends AbstractOwnableSynchronizer implements java.io.Serializable {
// 将当前线程加入等待队列
private Node addWaiter(Node mode) {
// 以当前线程构造一个节点,尝试通过CAS方式插入到双向链表的队尾
Node node = new Node(Thread.currentThread(), mode);
Node pred = tail;
if (pred != null) {
node.prev = pred;
if (compareAndSetTail(pred, node)) {
pred.next = node;
return node;
}
}
// 如果插入没有成功,则通过enq入队
enq(node);
return node;
}
// 通过enq入队
private Node enq(final Node node) {
// CAS 自旋方式,直到成功加入队尾
for (;;) {
Node t = tail;
if (t == null) {
// 队列为空,创建一个空结点作为head结点,并将tail也指向它
if (compareAndSetHead(new Node()))
tail = head;
} else {
node.prev = t;
if (compareAndSetTail(t, node)) {
t.next = node;
return t;
}
}
}
}
}
我们再来看看Node类节点相关的属性,部分核心源码如下:
static final class Node {
// 当前节点在队列中的状态,状态值枚举含义如下:
// 0:节点初始化时的状态
// 1: 表示节点引用线程由于等待超时或被打断时的状态
// -1: 表示当队列中加入后继节点被挂起时,其前驱节点会被设置为SIGNAL状态,表示该节点需要被唤醒
// -2:当节点线程进入condition队列时的状态
// -3:仅在释放共享锁releaseShared时对头节点使用
volatile int waitStatus;
// 前驱节点
volatile Node prev;
// 后继节点
volatile Node next;
//该节点的线程实例
volatile Thread thread;
// 指向下一个处于Condition状态的节点(用于条件队列)
Node nextWaiter;
//...
}
可以很清晰的看到,每个关键属性变量都加了volatile修饰符,确保多线程环境下可见。
正如上文所介绍的,Node其实是一个双向链表数据结构,大致的数据结构图如下!(图片来自ReentrantLock 的实现看 AQS 的原理及应用 – 美团技术团队)
其中第一个节点,也叫头节点,为虚节点,并不存储任何线程信息,只是占位用;真正有数据的是从第二个节点开始,当有线程需要加入等待队列时,会向队尾进行插入。
线程加入等待队列之后,会再次调用acquireQueued()方法,尝试进行获取锁,如果成功或者中断就退出,部分核心源码如下:
final boolean acquireQueued(final Node node, int arg) {
// 标记是否成功拿到锁
boolean failed = true;
try {
// 标记等待过程中是否中断过
boolean interrupted = false;
// 开始自旋,要么获取锁,要么中断
for (;;) {
// 获取当前节点的前驱节点
final Node p = node.predecessor();
// 如果p是头结点,说明当前节点在等待队列的头部,尝试获取锁(头结点是虚节点)
if (p == head && tryAcquire(arg)) {
// 获取锁成功,头指针移动到当前node
setHead(node);
p.next = null; // help GC
failed = false;
return interrupted;
}
// 如果p不是头节点或者是头节点但获取锁失败,判断当前节点是否要进入阻塞,如果满足要求,就通过park让线程进入阻塞状态,等待被唤醒
if (shouldParkAfterFailedAcquire(p, node) &&
parkAndCheckInterrupt())
interrupted = true;
}
} finally {
if (failed)
// 如果没有成功获取锁(比如超时或者被中断),那么取消节点在队列中的等待
cancelAcquire(node);
}
}
线程加入等待队列实现,总结下来,大致步骤如下:
- 1.调用
addWaiter()方法,将当前线程封装成一个节点,尝试通过CAS方式插入到双向链表的队尾,如果没有成功,再通过自旋方式插入,直到成功为止 - 2.调用
acquireQueued()方法,对在等待队列中排队的线程,尝试获取锁操作,如果失败,判断当前节点是否要进入阻塞,如果满足要求,就通过LockSupport.park()方法让线程进入阻塞状态,并检查是否被中断,如果没有,等待被唤醒
3.2.5、线程从等待队列中被唤醒实现
当线程调用tryRelease()方法释放锁成功之后,会从等待队列的头部开始,获取排队的线程,并进行唤醒操作。
释放锁方法,部分核心源码如下:
public final boolean release(int arg) {
// 尝试释放锁
if (tryRelease(arg)) {
// 获取头部节点
Node h = head;
if (h != null && h.waitStatus != 0)
// 尝试唤醒头部节点的下一个节点中的线程
unparkSuccessor(h);
return true;
}
return false;
}
其中unparkSuccessor()是执行唤醒线程的核心方法,部分核心源码如下:
private void unparkSuccessor(Node node) {
// 获取头结点 waitStatus
int ws = node.waitStatus;
// 置零当前线程所在的结点状态,允许失败
if (ws < 0)
compareAndSetWaitStatus(node, ws, 0);
// 获取当前节点的下一个节点s
Node s = node.next;
// 如果下个节点是null或者被取消,就从队列尾部依此寻找节点
if (s == null || s.waitStatus > 0) {
s = null;
// 从尾部节点开始向前找,找到队列中排在最前的有效节点
for (Node t = tail; t != null && t != node; t = t.prev)
if (t.waitStatus <= 0)
s = t;
}
// 将当前节点的下一个节点中的线程,进行唤醒操作
if (s != null)
LockSupport.unpark(s.thread);
}
线程从等待队列中被唤醒实现,总结下来,大致步骤如下:
- 1.当线程调用
tryRelease()方法释放锁成功之后,会从等待队列获取排队的线程 - 2.如果队列的头节点的下一个节点有效,会尝试进行唤醒节点中的线程;如果为空或者被取消,就从队列尾部依此寻找节点,找到队列中排在最前的有效节点,并尝试进行唤醒操作
四、简单应用
了解完AQS基本原理之后,按照以上的知识点,我们可以自己实现一个不可重入的互斥锁线程同步类。
示例代码如下:
public class MutexLock {
// 自定义同步器
private static class Sync extends AbstractQueuedSynchronizer {
// 判断是否锁定状态
@Override
protected boolean isHeldExclusively() {
return getState() == 1;
}
// 尝试获取资源,立即返回。成功则返回true,否则false。
@Override
protected boolean tryAcquire(int acquires) {
//state为0才设置为1,不支持重入!
if (compareAndSetState(0, 1)) {
//设置为当前线程独占资源
setExclusiveOwnerThread(Thread.currentThread());
return true;
}
return false;
}
// 尝试释放资源,立即返回。成功则为true,否则false。
@Override
protected boolean tryRelease(int releases) {
// 判断资源是否已被释放
if (getState() == 0)
throw new IllegalMonitorStateException();
setExclusiveOwnerThread(null);
//释放资源,放弃占有状态
setState(0);
return true;
}
}
// 真正同步类的实现都依赖继承于AQS的自定义同步器!
private final Sync sync = new Sync();
// 获取锁,会阻塞等待,直到成功才返回
public void lock() {
sync.acquire(1);
}
// 释放锁
public void unlock() {
sync.release(1);
}
}
测试类如下:
public class MutexLockTest {
private static int count =0;
private static MutexLock lock = new MutexLock();
public static void main(String[] args) throws Exception {
final int threadNum = 10;
CountDownLatch latch = new CountDownLatch(threadNum);
// 创建10个线程,同时对count进行1000相加操作
for (int i = 0; i < threadNum; i++) {
new Thread(new Runnable() {
@Override
public void run() {
// 加锁
lock.lock();
for (int j = 0; j < 1000; j++) {
count++;
}
// 释放锁
lock.unlock();
// 线程数减 1
latch.countDown();
}
}).start();
}
// 等待线程执行完毕
latch.await();
System.out.println("执行结果:" + count);
}
}
输出结果:
执行结果:10000
从日志输出结果可以清晰的看到,执行结果与预期值一致!
五、小结
本文从ReentrantLock源码分析到AQS原理解析,进行了一次知识内容的总结,从上文的分析中可以看出,AQS是JUC包下线程同步器实现的基石。
ReentrantLock、ReadWriteLock、CountDownLatch、CyclicBarrier、Semaphore、ThreadPoolExecutor 等并发工具类,线程同步的实现都基于AQS来完成,掌握AQS原理对线程同步的理解和使用至关重要。
AQS原理是面试时热点话题,希望本篇能帮助到大家!
六、参考
1.https://www.cnblogs.com/waterystone/p/4920797.html
2.https://tech.meituan.com/2019/12/05/aqs-theory-and-apply.html
3.https://zhuanlan.zhihu.com/p/197840259
4.https://juejin.cn/post/7006895386103119908
